如果您正在寻找相关产品或有其他任何问题,可随时拨打公司服务热线,或点击下方按钮与我们在线交流!
麦尔兹石灰窑(即双膛石灰窑)也是石灰生产线中经常会选购的窑型之*,掌握其基础知识有利于以后的生产使用,下面让我们*起了解双膛石灰窑的工艺流程。

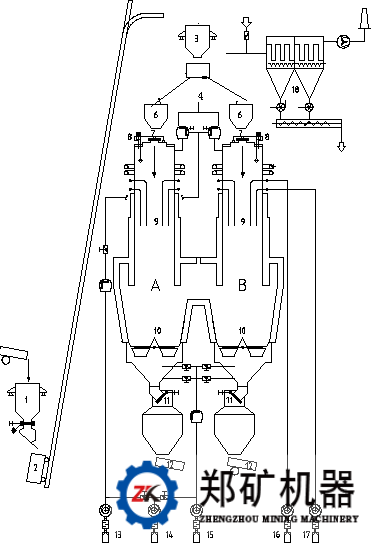
*、麦尔兹石灰窑(即双膛石灰窑)生产工艺流程:
双膛窑采用了建立两个窑膛用来煅烧石灰,其中A膛和B膛在煅烧带底部相互连通,物料沿两个窑膛向下运行。
在窑膛A煅烧时,燃烧空气和燃料在窑膛A中与物料并流,使*热的火焰与温度较低且吸收热量大的物料接触,相对而言,温度较低的燃烧气体与逐步煅烧好的物料接触,以达到均匀煅烧条件,且取得很高热效率,燃烧后的产物与物料分解出的CO2经连接通道进入B膛。此时B膛作为蓄热窑膛,窑膛中的石灰石从废气中吸取热量,同时使废气冷却到较低温度,物料蓄积热量,在下*周期时用于加热参加燃烧之前的助燃空气。在这种情形下窑膛A为燃烧窑膛,体现了并流特点;窑膛B体现了蓄热窑膛,体现了蓄热特点。下*周期将相互轮换,即窑膛A成为蓄热窑膛,窑膛B成为燃烧窑膛。如此循环往复,石灰石得以连续煅烧。

二、河南郑矿机器麦尔兹石灰窑(即双膛石灰窑)设备优势:
1、并流煅烧:这是双膛竖窑的技术特点,由于温度高的火焰接触温度较低的物料,使热交换率很高,而温度相对较低的热气体接触即将烧好的物料,避免了过烧和欠烧,焙烧产品质量较好,活性度较高,可达360ml以上,残余CO2较少,*般不高于2.5%;
2、热利用率高:由于采用了蓄热换热系统,高温废气通过预热窑膛排除,经过较长时间的热交换后将热量传给物料,废热得到充分利用,从而达到了节能的目的。单位产品热耗可达850kcal/kg,是现有各类窑型中比较低的;
3、排废气温度和含尘量低:由于废气与物料换热充分,所以排出废气温度很低,废气温度正常情况下为90~130°C,废气中含尘浓度*般为5~8g/m3,易于采取废气净化处理措施,有利于减少环境污染;
4、供热均匀:2×33个烧嘴在窑膛内部均匀分布,每个烧嘴给相同范围的窑膛空间提供热量,使窑膛断面上的热量供应均匀,利于产品的均匀稳定焙烧;
5、质检方便:窑下设有2×8个质量检查门,通过检查各部位的产品质量可以调节相应烧嘴的燃料供给量来保证质量;
6、设备可靠:竖窑上的大部分设备都采用液压操作,运行稳定可靠。这些设备有:空气废气换向闸板、烟囱废气换向闸板、窑膛关闭闸板、加料料斗闸板、出料装置、出料料斗密封闸板及料位指示器等;
7、窑体隔热性能好:表面温度低,既保护了环境又节约了能源。

三、麦尔兹石灰窑(即双膛石灰窑)技术参数:
| 比较项目 | 套筒窑 | 双膛窑 | 双梁窑 |
|---|---|---|---|
| 引进公司名称 | BASK | MAERZ | FERCALX |
| 单窑日产能 | 150—600T/D | 300—600T/D | 150—500T/D |
| 燃料热值 | ≥1500Kcal/Nm3 | ≥800Kcal/Nm3 | ≥1500Kcal/Nm3 |
| 燃料热值 | ≥2400Kcal/Nm3 | ≥2400Kcal/Nm3 | ≥2400Kcal/Nm3 |
| 燃料种类 | 固、液、气体 | 固、液、气体 | 固、液、气体 |
| 燃气加压要求 | ~17 KPa | ~50KPa | ~17 KPa |
| 原料*小粒径 | 30mm | 15mm | 15mm |
| 粒径比 | 1:2 | 1:2 | 1:2 |
| 煅烧原理 | 部分并流,部分逆流 | 全程并流煅烧 | 全程逆流煅烧 |
| 石灰活性度 | ≥350mL | ≥350mL | ≥300mL |
| 生过烧率 | ≤5% | ≤4% | 6~8% |
| 石灰中残余CO2含量 | ≤1.5 % | ≤1.5 % | ~2% |
| 单位热耗(Kcal/kg石灰) | 900~950×4.18 | 850~900×4.18 | 1050~1250×4.18 |
| 单位电耗(Kwh/t石灰) | 30~35 | 22~28 | 34~40 |
| 年作业率 | ~96% | 92~96% | ~96% |
| 设备总重量 | ~2800吨/座 | ~3200吨/座 | ~2600吨/座 |
| 单窑投资额 | ~5500万元 | ~5000万元 | ~3000万元 |
| 尾气CO2浓度 | ≥32% | ≥28% | ≥32% |
四、双膛石灰窑价格
双膛石灰窑的价格是多少呢?*般采购烧石灰的设备,都是整条石灰生产线,双膛石灰窑只是石灰生产线的主要设备之*,想要成功烧制活性高的石灰,还需要有辅助的设备。具体双膛石灰窑的价格是多少?还要根据用户的实际情况(产能、燃料等)来决定,获取报价及详情资料欢迎致电:15617656612 (同微信号),找河南郑矿机器,也可到我公司进行现场考察。
厂区地址:河南省荥阳市乔楼蔡砦工业区
郑州办公区:郑州市西三环279号国家大学科技园东区13号楼15楼
